Product Summary
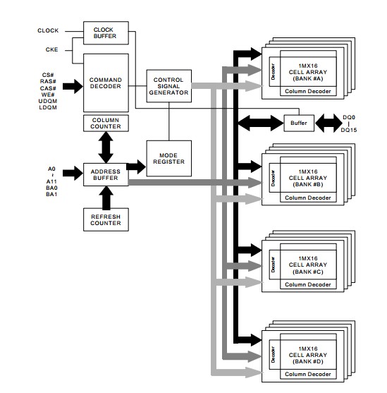
The EM638165TS-6G is a 64 Mbits high-speed CMOS synchronous DRAM. The EM638165TS-6G is internally configured as 4 Banks of 1M word x 16 DRAM with a synchronous interface (all signals are registered on the positive edge of the clock signal, CLK). Read and write accesses to the SDRAM are burst oriented; accesses start at a selected location and continue for a programmed number of locations in a programmed sequence. Accesses begin with the registration of a BankActivate command which is then followed by a Read or Write command. The EM638165TS-6G provides for programmable Read or Write burst lengths of 1, 2, 4, 8, or full page, with a burst termination option. An auto precharge function may be enabled to provide a self-timed row precharge that is initiated at the end of the burst sequence.
Parametrics
EM638165TS-6G absolute maximum ratings: (1)Input, Output Voltage: - 1.0 to 4.6 V; (2)Power Supply Voltage: -1.0 to 4.6 V; (3)Operating Temperature: 0 to 70 ℃; (4)Storage Temperature: - 55 to 125 ℃; (5)Soldering Temperature (10 second): 255 ℃; (6)Power Dissipation: 1 W; (7)Short Circuit Output Current: 50 mA.
Features
EM638165TS-6G features: (1)Fast access time from clock: 5/6/6/6/7 ns; (2)Fast clock rate: 166/143/133/125/100 MHz; (3)Fully synchronous operation; (4)Internal pipelined architecture; (5)1M word x 16-bit x 4-bank; (6)Programmable Mode registers; (7)Auto Refresh and Self Refresh; (8)4096 refresh cycles/64ms; (9)CKE power down mode; (10)Single +3.3V ± 0.3V power supply; (11)Interface: LVTTL; (12)54-pin 400 mil plastic TSOP II package.
Diagrams

| Image | Part No | Mfg | Description | ![]() |
Pricing (USD) |
Quantity | ||||
|---|---|---|---|---|---|---|---|---|---|---|
![]() |
![]() EM638165TS-6G |
![]() Other |
![]() |
![]() Data Sheet |
![]() Negotiable |
|
||||
| Image | Part No | Mfg | Description | ![]() |
Pricing (USD) |
Quantity | ||||
![]() |
![]() EM6323 |
![]() Other |
![]() |
![]() Data Sheet |
![]() Negotiable |
|
||||
![]() |
![]() EM6323/24 |
![]() Other |
![]() |
![]() Data Sheet |
![]() Negotiable |
|
||||
![]() |
![]() EM6324 |
![]() Other |
![]() |
![]() Data Sheet |
![]() Negotiable |
|
||||
![]() |
![]() EM6325 |
![]() Other |
![]() |
![]() Data Sheet |
![]() Negotiable |
|
||||
![]() |
![]() EM6325CY-1.3 |
![]() Other |
![]() |
![]() Data Sheet |
![]() Negotiable |
|
||||
![]() |
![]() EM6352 |
![]() Other |
![]() |
![]() Data Sheet |
![]() Negotiable |
|
||||
(China (Mainland))









