Product Summary
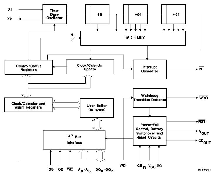
The BQ4845S-A4N is a Real-Time Clock. Real-Time Clock is a low-power microprocessor peripheral that integrates a time-of-day clock, a 100-year calendar, and a CPU supervisor in a 28-pin SOIC or DIP. The BQ4845S-A4N is ideal for fax machines, copiers, industrial control systems, point-of-sale terminals, data loggers, and computers. The BQ4845S-A4N provides direct connections for a 32.768KHz quartz crystal and a 3V backup battery. Through the use of the conditional chip enable output (CEOUT) and battery voltage output (VOUT) pins, the BQ4845S-A4N can write-protect and make nonvolatile external SRAMs.
Parametrics
BQ4845S-A4N absolute maximum ratings: (1)VCC, DC voltage applied on VCC relative to VSS: -0.3 to 7.0 V; (2)VT, DC voltage applied on any pin excluding VCC; (3)relative to VSS: -0.3 to 7.0 V, VT ≤ VCC + 0.3; (4)TOPR, Operating temperature: 0 to +70℃ Commercial; -40 to +85℃ Industrial; (5)TSTG, Storage temperature: -55 to +125℃; (6)TBIAS, Temperature under bias: -40 to +85℃; (7)TSOLDER, Soldering temperature: +260℃ For 10 seconds.
Features
BQ4845S-A4N features: (1)Real-Time Clock counts seconds through years in BCD format; (2)On-chip battery-backup switchover circuit with nonvolatile control for external SRAM; (3)Less than 500nA of clock operation current in backup mode; (4)Microprocessor reset valid to VCC = VSS; (5)Independent watchdog timer with a programmable time-out period; (6)Power-fail interrupt warning; (7)Programmable clock alarm interrupt active in battery-backup modeProgrammable periodic interrupt; (8)Battery-low warning.
Diagrams

| Image | Part No | Mfg | Description | ![]() |
Pricing (USD) |
Quantity | ||||||||||||
|---|---|---|---|---|---|---|---|---|---|---|---|---|---|---|---|---|---|---|
![]() |
![]() BQ4845S-A4N |
![]() Texas Instruments |
![]() Real Time Clock w/NVSRAM Control Watchdog Timer |
![]() Data Sheet |
![]()
|
|
||||||||||||
![]() |
![]() BQ4845S-A4NG4 |
![]() Texas Instruments |
![]() Real Time Clock w/NVSRAM Control Watchdog Timer |
![]() Data Sheet |
![]()
|
|
||||||||||||
![]() |
![]() BQ4845S-A4NTR |
![]() Texas Instruments |
![]() Real Time Clock w/NVSRAM Control Watchdog Timer |
![]() Data Sheet |
![]()
|
|
||||||||||||
![]() |
![]() BQ4845S-A4NTRG4 |
![]() Texas Instruments |
![]() Real Time Clock w/NVSRAM Control Watchdog Timer |
![]() Data Sheet |
![]()
|
|
||||||||||||
(China (Mainland))










